CX 80U White vezetékes fülhallgató, USB-C
Mikrofonos fülhallgató USB-C csatlakozóval, fehér színű

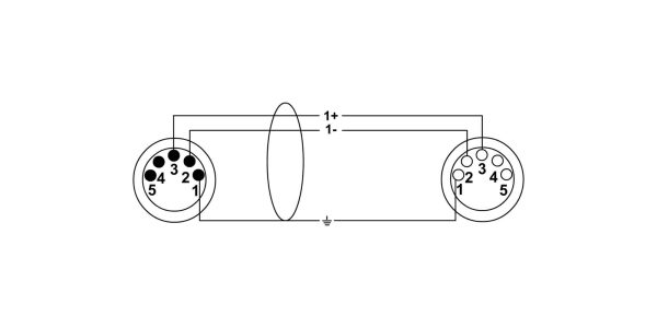
5,0 m CDMX 1, NEUTRIK XLR Mama 5-pólusú Fekete / XLR Papa 5-pólusú Fekete
19.700 Ft
Elfogyott
Elfogyott
As regards stage lighting, we can offer event managers and PA managers an efficient solution in our CDX-1 cable. This DMX cable with a 3-pin configuration is AES/EBU certified and features black 5-pin XLR female and XLR male metal connectors made by NEUTRIK. The corresponding bulk cable is our high-grade CDMX-1 featuring a foil pair screen and an overall shielding consisting of a braid of tinned copper wires. The cable is especially suited for controlling intelligent flood lights, moving heads and dimmers because it conforms with EIA 485 standards and DMX 512 specifications. On both cable ends you’ll find transparent shrink-on tubes to make individual labelling possible.
Please note that the technical DMX connection standard is reciprocal to standard XLR usage in the field of audio technology. Here the DMX transmitter features a female, the receiver a male connector.
A szállítás a GLS futárszolgálattal történik